[Prev] [Next] [Contents] [Commodore] [New] [Search] [Home]

2031 LP CIRCUIT THEORY

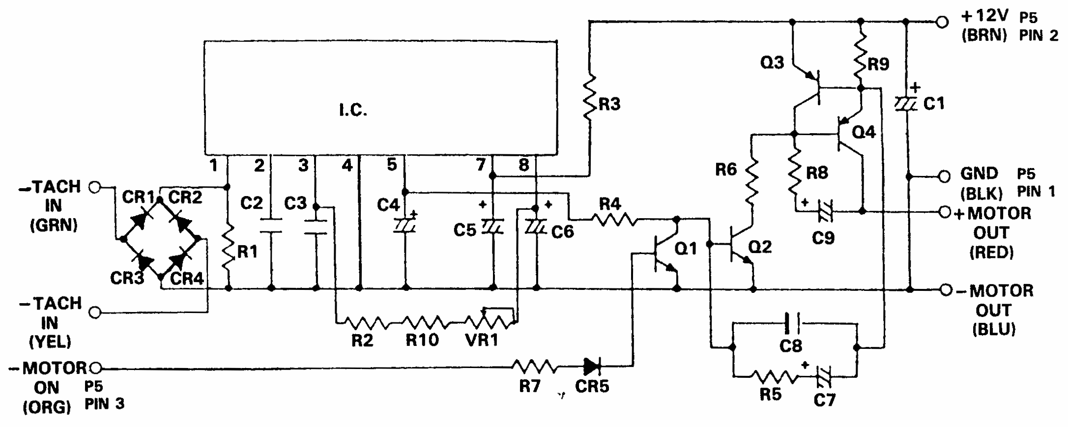
[Spindle motor control circuit schematic #1]

[Spindle motor control circuit schematic #2]

Spindle Motor Control Circuits

MTR output from UF2 pin 8 is passed through current driver UG4 to the motor control PCB. When MTR is "low", Q1 is biased off, and Q2, Q3, and Q4 are biased on, allowing current flow through the spindle motor coil. Attached to the shaft of the spindle motor is an inductive tachometer that generates low level AC voltages, as the motor spins. The output of the tachometer is rectified by CR1-CR4. IC 1 monitors the output of the rectifier and adjusts the bias to Q2, which changes the bias on Q3 and Q4 to regulate motor current for a constant velocity. VR1 is a manual speed adjustment. The speed can be adjusted by watching the 60Hz strobe as the adjustment is made or loading the system test from the diagnostic disk.


[Prev] [Next] [Contents] [Commodore] [New] [Search] [Home]
This page has been created by Sami Rautiainen.
Read the small print. Last updated December 08, 1998.