[Prev] [Next] [Contents] [Commodore] [New] [Search] [Home]

TANDON DRIVE ASSEMBLIES
8050/8250

PARTS LIST

805004701 Tandon Drive 8050
825001501 Tandon Drive 8250

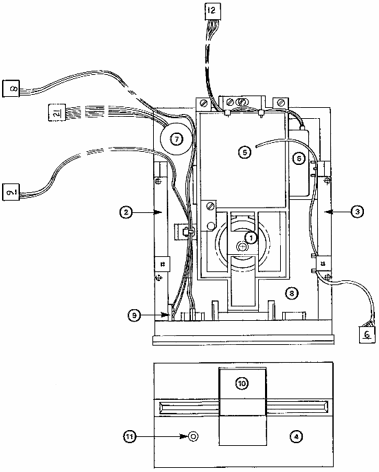
  1. 31419001 TAN DOOR/HUB ASSEMBLY
    1. Door Assy. w/Frame
    2. Hub/Collet Assy.
  2. 31419101 TAN LEFT DISK GUIDE
    1. Left Disk Guide w/Actuator
  3. 31419201 TAN RIGHT DISK GUIDE
  4. 31419301 TAN FRONT BEZEL
  5. 31419401 TAN 8050 R/W HEAD ASSY.
    1. R/W Head w/Harness
    2. Load Arm w/Pad
    31419501 TAN 8250 R/W HEAD ASSY.
    1. Up/Low R/W Head w/Harness
  6. 31419601 TAN STEPPER MOTOR
    1. Stepper Motor w/Harness
  7. 31419701 TAN DC MOTOR
  8. 31419801 TAN HOUSING/SPINDLE ASSY.
    1. Housing Base
    2. Spindle/Tach Assy.
    3. L/R Guide Shafts
    31419901 TAN DRIVE BELT
    31420001 TAN HARDWARE
    1. Assorted Screws
    2. Assorted Springs, Etc.
  9. 31420101 TAN WRITE PROTECT ASSY.
    1. Write Protect Switch w/Harness
    2. LED Indicator w/Harness
  10. 31420201 TAN DOOR
    31417401 UNIV. Replacement Load Pad
  11. 90382001 UNIV. LED Holder (2 pc.)
    32086901 Drive 0 Label
    32086902 Drive 1 Label
[Wiring diagram and layout]
P8 1 WHITE WRITE PROTECT SWITCH NORMAL CLOSED
2 WHITE WRITE PROTECT SWITCH COMMON
3 NC  
4 NC  
P9 1 WHITE ACTIVITY LED CATHODE
2 WHITE ACTIVITY LED ANODS
3 NC  
4 NC  
P12 1 RED STEPPER MOTOR
2 BROWN STEPPER MOTOR
3 GREEN STEPPER MOTOR
4 BLACK STEPPER MOTOR
P21 1 YELLOW TACHOMETER OUTPUT
2 GREEN TACHOMETER RETURN
3 RED MOTOR DRIVE
4 BLUE MOTOR RETURN
5 NC  
P6 1 RED ERASE
2 BLACK READ/WRITE
3 BLUE/YELLOWCENTER TAP/ERASE (2 WIRES)
4 WHITE READ/WRITE
5 BRAID SHIELD
CONN NO. PIN NO.WIRE COLORWIRE DESTINATION


[Prev] [Next] [Contents] [Commodore] [New] [Search] [Home]
This page has been created by Sami Rautiainen.
Read the small print. Last updated April 09, 2006.