[Prev] [Next] [Contents] [Commodore] [New] [Search] [Home]

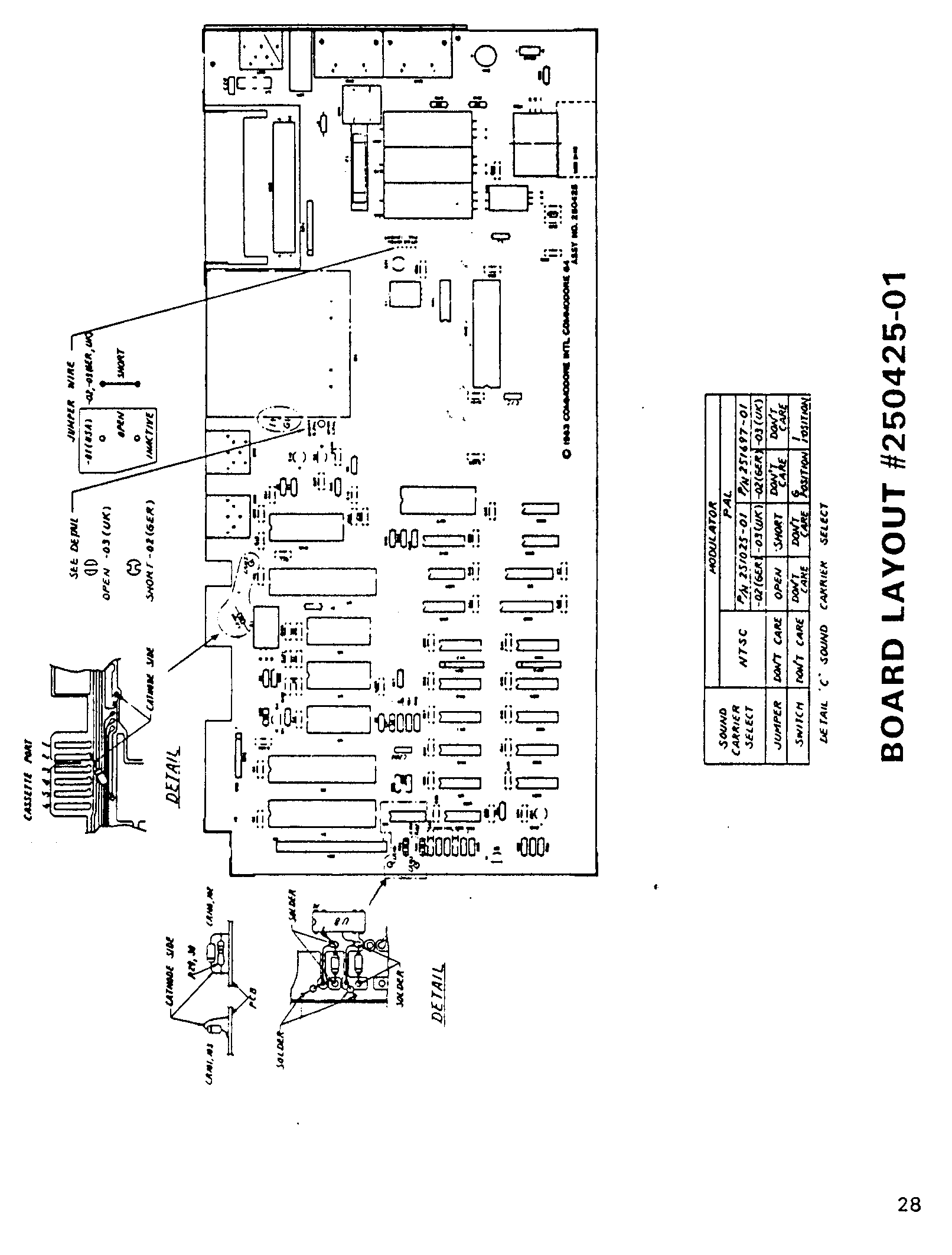
[Board layout #250425-01]


[Prev] [Next] [Contents] [Commodore] [New] [Search] [Home]
This page has been created by Sami Rautiainen.
Read the small print. Last updated September 05, 2020.